|
|
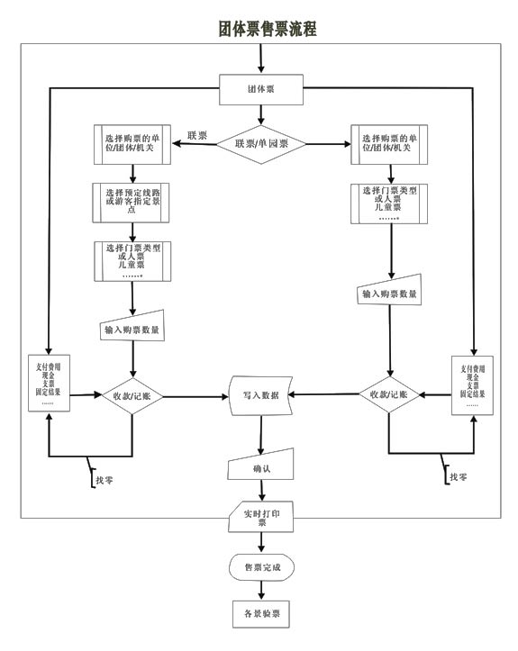
电子门票系统团体票解决方案
|
|
| 双击自动滚屏 |
发布者:admin |
发布时间:2008-09-28 |
|
电子门票系统中团体票一般分多人一张或者人手一张票,多人持一张票,如何有效通过,这是考验验票闸机的一个关键指标。
目前大多数公司的电子门票对团体票都没有一个好的解决,大多采用一人一票形式或一票多刷的方式(过一个刷一次门票),本公司经过多年技术攻关成功解决了这一问题,闸机上面设一个显示屏幕,当团体票刷票后,显屏将提示可以通行的人数,此后团体游客可有序通行,过一个人屏幕上显示少一个人,过完显示0,表示不能通行了。
|
 |
|
|